The balance valve plays a very important role in the HVAC system in particular as well as in the plumbing system in general of the whole project. So what is the structure and main role of the balance valve? Let Dai Nam learn through the following article to have a better understanding of what is the role of the balance valve in the project!
What is a balance valve?
Balancing Valve has the English name, Balancing Valve, which balances the pressure or flow losses on the branch pipeline.
There are two types of balance valves:
- Automatic balancing valve
- Mechanical balance valve

Balancing valves are now used quite commonly in many different systems
Role
Balancing valves are used to regulate flow or pressure on distribution systems, hot water systems and central chilled water systems. Balancing valves help us calculate and set flow or pressure according to desired parameters. These valves are installed at the supply line or return line in the system.
The purpose of the balancing valve is to balance the flow or pressure loss between branches or between FCUs to avoid the phenomenon of the staging with a low-pressure, low-pressure, high-pressure rack.
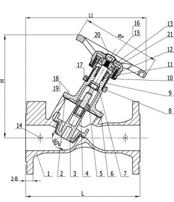
Structure
The balance valve consists of main parts:
- Valve body
- Valve disc
- Seal gasket
- Valve shaft
- Alignment button
- Handwheel shape steering wheel
- Screw link shaft
- Measuring point

Structure of balance valve
Addresses to supply industrial valves - the best balancing valve on the market
DAI NAM COMPANY with many years of experience in the field of industrial valve supply. Specializing in providing industrial valve equipment: safety valve, pressure reducing valve, butterfly valve, ball valve, one-way valve, balance valve, soft coupling ... of Tecofi - France brand.
All items in DAI NAM are genuine warranties with preferential prices. Especially, we always have a team of technicians with many years of experience, dynamism, withstand the pressure of work progress, so the support from installation as well as technical advice for customers has a good choice. Best.
DAI NAM's staff are always ready to provide technical assistance and advice to help customers find optimal solutions in choosing industrial valves, industrial pumps and ancillary products. With the motto " Prestige, quality, attentive service, reasonable price ", we will bring satisfaction to your contractors, investors, electrical contractors.
For more information please contact:
DAI NAM SCIENCE INDUSTRIAL JOINT STOCK COMPANY
Address: Room 303- 3rd floor, AN BINH mixed building 1- Number 3 Tran Nguyen Dan street-Dinh Cong new urban area- Dinh Cong ward - Hoang Mai district - Hanoi.
Hotline : 098 678 4306 Tel : 024 364 00111
Email : dainam@dainamco.vn Website : congnghiepdainam.com.vn
